欢迎光临乐清路军网络科技有限公司官方网站!

工业连接器

  • CEE-213/223

CEE-213/223

  • 013.jpg

    电       流   Current(A): 16A/32A

    电       压   Voltage(V):  220-250V~

    极       数   No. of poles: 2P+E

    防护等级  Protection degree: IP44


213.png


16Amp

32Amp

Poles

3

4

5

3

4

5

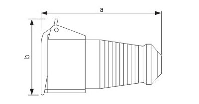
a

130

131

139

149

149

154

b

66

76

90

90

90

100

Wire flexible [mm²]

1-2.5

2.5-6


联系我们

公 司:乐清路军网络科技有限公司

联系人:郑经理

电话:0577-27880261

手机:13587965072

E-mail:768259840@qq.com

地 址:浙江省乐清市柳市工业区

友情链接: 浙ICP备20241089162222号