欢迎光临乐清市铭品电器有限公司官方网站!

暗装器具插头

  • CEE-6332-4/6432-4

CEE-6332-4/6432-4

  • 013-4.jpg

    电       流   Current(A): 63A/125A

    电       压   Voltage(V):   110-130V~

    极       数   No. of poles: 2P+E

    防护等级  Protection degree: IP67


6332.png


63Amp

125Amp

Poles

3

4

5

3

4

5

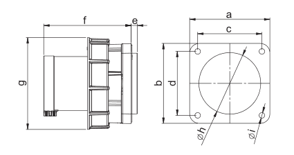
a×b

100

100

100

120

120

120

c×d

80

80

80

100

100

100

e

8

8

8

13

13

13

f

109

109

109

118

118

118

g

115

115

115

128

128

128

h

77

77

77

95

95

95

i

7

7

7

7

7

7

Wire flexible [mm²]

6-16

16-50


联系我们

公 司:乐清市铭品电器有限公司

联系人:陈经理

电话:0577-27880261

手机:13757879828

E-mail:cee@ceeplugs.com

地 址:浙江省乐清市柳市工业区

友情链接: 浙ICP备2024108916号